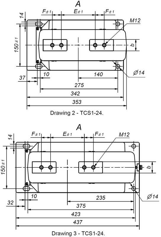
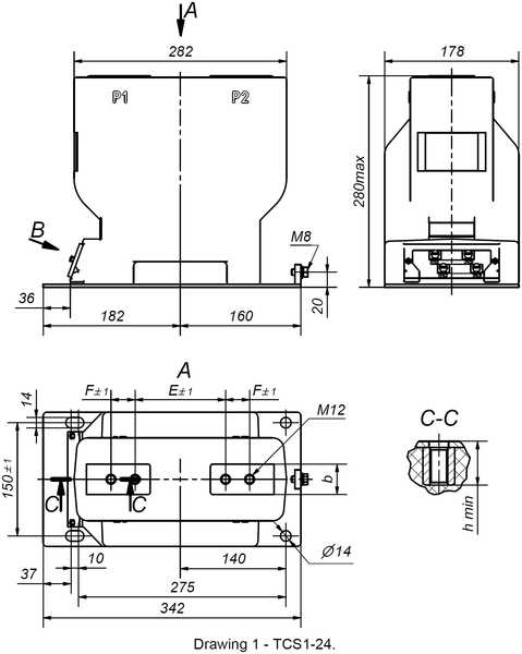
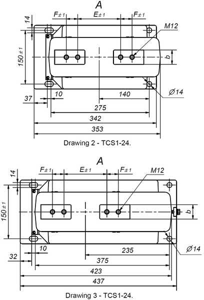
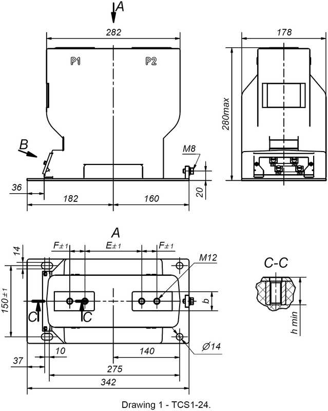
TCS1-24
Трансформатори струму TCS1-24 призначені для передачі сигналу вимірювальної інформації вимірювальним приладам, пристроям захисту і управління, для ізолювання ланцюгів вторинних з`єднань від високої напруги в комплектних електричних пристроях внутрішньої установки (КРУ, КРУН, КСО) змінного струму з найвищою напругою обладнання 24 кВ частотою 50 Гц.
Трансформатори призначені для експлуатації в приміщеннях, в яких коливання температури і вологості повітря не суттєво відрізняється від коливань на відкритому повітрі, а також в середині комплектних виробів призначених для експлуатації на відкритому повітрі за умови відсутності прямого впливу сонячного випромінювання та атмосферних опадів, в наступних умовах:
- висота над рівнем моря − не більше 1000 м;
- відносна вологість повітря не більше 98 % при 30 °С;
- верхнє робоче значення температури, навколишнього повітря − плюс 50 °С;
- нижнє робоче значення температури навколишнього повітря − мінус 45 °С;
- навколишнє середовище - вибухобезпечне, яке не містить пилу, хімічно активних газів і пари в
концентраціях, що руйнують покриття металів та ізоляцію;
- положення трансформаторів в просторі - будь-яке.
Клас нагрівостійкості ізоляції – В по ДСТУ EN 61869-1:2017.
Клас займистості трансформаторів відповідає групі НВ40 за ДСТУ EN 60695-11-10.
Вторинна обмотка для вимірювання виконана на осерді з нанокристалічного сплаву. Це забезпечує відповідність
обмотки класу точності в більш широкому діапазоні сили первинного струму в порівнянні з вимогами діючого стандарту. При цьому, забезпечується довготривала стабільність характеристик протягом всього терміну служби трансформатора і стійкість магнітопроводу до намагнічування (від однополярних імпульсних струмів КЗ). Крім цього, забезпечується коефіцієнт безпеки приладів не більше трьох, що значно зменшує аварійні перевантаження вимірювальних приладів, підключених до вимірювальної вторинної обмотки.
Застосування даних трансформаторів забезпечує зменшення експлуатаційних витрат у споживачів.
Трансформатори відповідають ДСТУ EN 61869-1:2017, ДСТУ EN 61869-2:2017, ГОСТ 7746-2015.
Трансформатори струму TCS1-24 призначені для передачі сигналу вимірювальної інформації вимірювальним приладам, пристроям захисту і управління, для ізолювання ланцюгів вторинних з`єднань від високої напруги в комплектних електричних пристроях внутрішньої установки (КРУ, КРУН, КСО) змінного струму з найвищою напругою обладнання 24 кВ частотою 50 Гц.
Трансформатори призначені для експлуатації в приміщеннях, в яких коливання температури і вологості повітря не суттєво відрізняється від коливань на відкритому повітрі, а також в середині комплектних виробів призначених для експлуатації на відкритому повітрі за умови відсутності прямого впливу сонячного випромінювання та атмосферних опадів, в наступних умовах:
- висота над рівнем моря − не більше 1000 м;
- відносна вологість повітря не більше 98 % при 30 °С;
- верхнє робоче значення температури, навколишнього повітря − плюс 50 °С;
- нижнє робоче значення температури навколишнього повітря − мінус 45 °С;
- навколишнє середовище - вибухобезпечне, яке не містить пилу, хімічно активних газів і пари в
концентраціях, що руйнують покриття металів та ізоляцію;
- положення трансформаторів в просторі - будь-яке.
Клас нагрівостійкості ізоляції – В по ДСТУ EN 61869-1:2017.
Клас займистості трансформаторів відповідає групі НВ40 за ДСТУ EN 60695-11-10.
Вторинна обмотка для вимірювання виконана на осерді з нанокристалічного сплаву. Це забезпечує відповідність
обмотки класу точності в більш широкому діапазоні сили первинного струму в порівнянні з вимогами діючого стандарту. При цьому, забезпечується довготривала стабільність характеристик протягом всього терміну служби трансформатора і стійкість магнітопроводу до намагнічування (від однополярних імпульсних струмів КЗ). Крім цього, забезпечується коефіцієнт безпеки приладів не більше трьох, що значно зменшує аварійні перевантаження вимірювальних приладів, підключених до вимірювальної вторинної обмотки.
Застосування даних трансформаторів забезпечує зменшення експлуатаційних витрат у споживачів.
Трансформатори відповідають ДСТУ EN 61869-1:2017, ДСТУ EN 61869-2:2017, ГОСТ 7746-2015.
- Найменування параметру Значення параметру
- Найвища напруга обладнання, Um, [kV] 24
- Номінальний первинний струм, Ipn, [А] 5; 7,5; 10; 12,5; 15; 20; 25; 30; 40; 50; 60; 75; 80; 100; 125; 150; 200; 250; 300; 400; 500; 600; 750; 800; 1000; 1200; 1250; 1500; 1600; 2000
- Номінальний вторинний струм, Isn, [A] 1, 5*
- Номінальна частота, Fn, [Hz] 50*, 60
- Клас точності вторинної обмотки для вимірювань 0,2; 0,2S; 0,5; 0,5S*; 0,5S+
- Клас точності вторинної обмотки для захисту 5P; 10P*
- Номінальна вторинна навантага при соs φ = 0,8 - обмотка для вимірювань, [VA] 5; 10*; 15; 20; 30
- Номінальна вторинна навантага при соs φ = 0,8 - обмотка для захисту, [VA] 5; 10; 15*; 20
- Коефіцієнт безпеки приладу, FS 3 - 5
- Коефіцієнт граничної точності, ALF 5 - 30
- Кількість вторинних обмоток 1, 2, 3, 4
- Випробувальна напруга промислової частоти, [kV] 50
- Виконання з перемиканням +